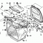
NC700X (2015)

Оригинальные запчасти для мотоциклов Honda (Америка)

Выбор узла

NC700X (2015)

Honda NC700X 2015

Неоригинальные запчасти Parts Unlimited