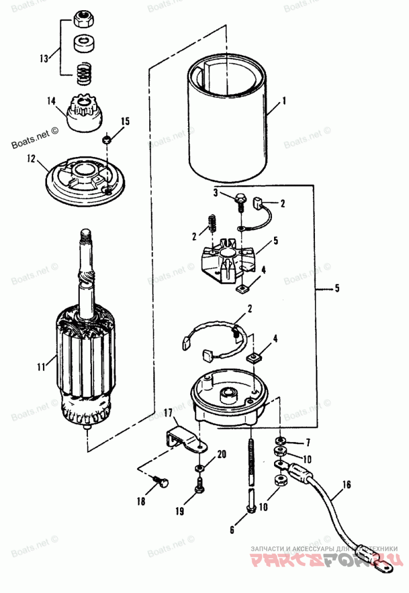
Стартер

Force H0908X92F

Force
#oem кодцена
1
819085
Деталь STARTER ASSEMBLY (SERVICES 50-F616955-1)
2
F15190
Деталь BRUSH KIT
3
F15158
Винт
4
F15159
Изолятор
5
F15189
Деталь END CAP ASSEMBLY, COMMUTATOR
6
F15178
Деталь THRU BOLT
7
F15160
Шайба
10
F15162
Гайка
11
F15177
Деталь ARMATURE
12
F15176
Деталь END CAP, DRIVE
13
90644
Деталь DRIVE KIT
14
819222
Шестерня
15
20361
Деталь NUT (1/4-28)
16
F85908-1
Деталь WIRE, STARTER, (RED)
17
F616675
Деталь BRACKET, STARTER MOUNT
18
19923062
Деталь SCREW (1/4-20 X 5/8") WITH DRI LOC
19
19923062
Деталь SCREW (1/4-20 X 5/8") WITH DRI LOC
20
26992
Деталь LOCKWASHER (1/4")
--
825064
Деталь DECAL, CAUTION, START IN GEAR
--
825066
Деталь DECAL, WARNING, HI-VOLTAGE