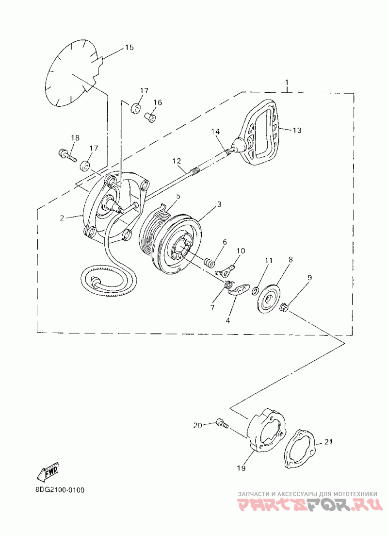
Стартер

Yamaha Vmax 600 Deluxe

Yamaha
#oem кодцена
1
8CH-15710-01-00
Стартер
2
8CH-15711-00-00
Корпус стартера
3
8CH-15714-00-00
Барабан
4
8CH-15741-00-00
Кулачек
5
21V-15713-00-00
Пружина
6
8CH-15715-00-00
Пружина
7
8CH-15767-00-00
Пружина
8
8CH-15716-00-00
Пластина
9
95707-06500-00
Гайка
10
8CH-15735-00-00
Бегунок
11
8CH-15739-00-00
Шайба
12
8CH-15751-00-00
Провод стартера
13
8F3-15755-00-00
Ручка
14
85L-24327-00-00
Оплетка ,шланга
15
8CH-15712-00-00
Деталь Cover, Starter Case
16
90387-08071-00
Манжета
17
90385-12036-00
Втулка резиновая
18
19
20
21
8DG-15724-00-00
Проставка