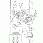
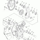
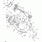
Phazer Mountain Lite (2000)

Оригинальные запчасти для снегоходов Yamaha

Выбор узла

Phazer Mountain Lite (2000)