V-MAX 500-VT500C/VX500ERC (1999)

Оригинальные запчасти для снегоходов Yamaha

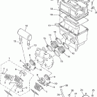
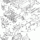
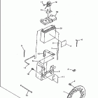
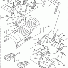
Выбор узла

V-MAX 500-VT500C/VX500ERC (1999)

Yamaha V-Max 500 1999

Неоригинальные запчасти Parts Unlimited