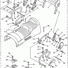
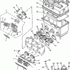
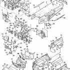
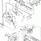
VMAX 700 SX-VX700SXSB/VX700SXB (1998)

Оригинальные запчасти для снегоходов Yamaha

Выбор узла

VMAX 700 SX-VX700SXSB/VX700SXB (1998)

Yamaha V-Max 700 SX 1998

Неоригинальные запчасти Parts Unlimited