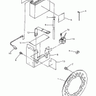
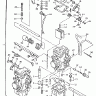
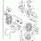
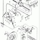
Venture 600 (1997)

Оригинальные запчасти для снегоходов Yamaha

Выбор узла

Venture 600 (1997)

Yamaha Venture 600 1997

Неоригинальные запчасти Parts Unlimited