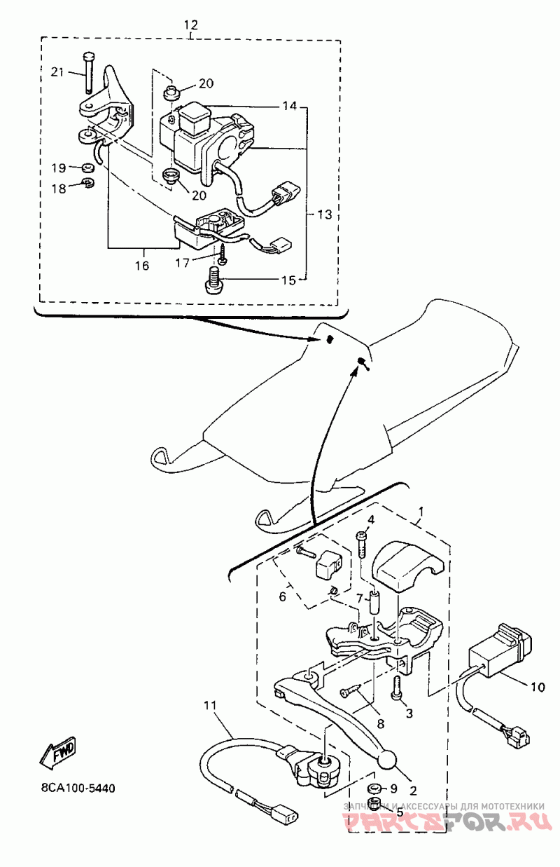
Рулевые переключатели

Yamaha Vmax 600 Deluxe

Yamaha
#oem кодцена
1
88R-W8291-00-00
Рычаг левый в сборе
2
8H8-83912-00-00
Рычаг левый
3
4
5
95707-05300-00
Гайка
6
82A-83930-00-00
Стопор рычага
7
802-83913-00-00
Втулка
8
9
92907-05200-00
Шайба
10
8H8-83950-01-00
Выключатель света
11
88R-82530-00-00
Датчик тормоза
12
8AB-82720-00-00
Рычаг
13
8AV-83963-00-00
Рулевой переключатель
14
8AU-82575-09-00
Деталь Emergency Safetysw
15
16
8AB-82970-00-00
Нагреватель Большого пальца
17
18
99080-04600-00
Зажим
19
85G-83663-00-00
Шайба
20
85G-83956-00-00
Крышка
21
17
97707-30514-00
Деталь Screw, Trusthead Tap