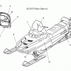
WIDETRAK LX INTL - S14SU4BEL (2014)

Оригинальные запчасти для снегоходов Polaris

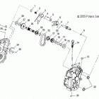
Выбор узла

WIDETRAK LX INTL - S14SU4BEL (2014)