600 SWITCHBACK/ES- S13BR6GSA/GSL (2013)

Оригинальные запчасти для снегоходов Polaris

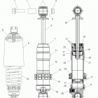
Выбор узла

600 SWITCHBACK/ES- S13BR6GSA/GSL (2013)