700 CLEANFIRE DRAGON/EURO - S07PC7JS/JE (2007)

Оригинальные запчасти для снегоходов Polaris

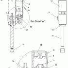
Выбор узла

700 CLEANFIRE DRAGON/EURO - S07PC7JS/JE (2007)