• О Компании
  • Оплата и Доставка
  • Помощь
  • Обратная связь
  • Контакты
  • Telegram
  • ВКонтакте
  • Telegram
  • ВКонтакте
  • Регистрация
  • Авторизация
Интернет магазин мотозапчастей PartsFor.ru
Москва и регионы России
  • Личный кабинет
    • Заказы
    • Оплаты
    • Отгрузки
    • Сообщения
    • Профиль
    • Выход
  • Оригинальные запчасти
    • Для мотоциклов
    • Yamaha
    • Honda
    • Suzuki
    • Kawasaki
    • Harley Davidson
    • Ducati
    • Can-Am
    • Aprilia
    • BMW
    • Triumph
    • Husaberg
    • Husqvarna
    • KTM
    • Indian
    • Victory
    • Slingshot
    • Для мотоциклов
    • Для квадроциклов
    • Для снегоходов
    • Для мотовездеходов
    • Для гидроциклов
    • Для лодочных моторов
    • Для катеров
    • Для судовых двигателей
    • Для генераторов
    • Для квадроциклов
    • Yamaha
    • Honda
    • Suzuki
    • Kawasaki
    • Arctic Cat
    • Can-Am
    • Polaris
    • KTM
    • Для снегоходов
    • Yamaha
    • Arctic Cat
    • Lynx
    • Ski-Doo
    • Polaris
    • Для генераторов
    • Для мотовездеходов
    • Yamaha
    • Honda
    • Suzuki
    • Kawasaki
    • Arctic Cat
    • Can-Am
    • Polaris
    • Polaris RZR
    • Для гидроциклов
    • Yamaha
    • Honda Marine
    • Kawasaki
    • Arctic Cat
    • Polaris
    • Sea-Doo
    • Для лодочных моторов
    • Для катеров
    • Для суд. двигателей
    • Для генераторов
    • Для лодочных моторов
    • Yamaha
    • Honda Marine
    • Suzuki Marine
    • Evinrude
    • Johnson
    • Nissan
    • Tohatsu
    • Mercury
    • Force
    • Mariner
    • Для катеров
    • Yamaha
    • Sea-Doo
    • Для суд. двигателей
    • Для спецтехники
  • Неоригинал, расходники
  • Заказ по каталогам
    • КАТАЛОГ PARTS UNLIMITED
  • Моторезина
  1. Главная
  2. Запчасти для снегоходов
  3. Polaris
  4. 2006
  5. SUPERSPORT - S06NP5BSA

SUPERSPORT - S06NP5BSA (2006)

Оригинальные запчасти для снегоходов Polaris

Выбор узла

SUPERSPORT - S06NP5BSA (2006)
  • SUPERSPORT - S06NP5BSA Battery box
    Battery box
  • SUPERSPORT - S06NP5BSA Nosepan
    Nosepan
  • SUPERSPORT - S06NP5BSA Корпус вентилятора и ручной стартер
    Корпус вентилятора и ручной стартер
  • SUPERSPORT - S06NP5BSA Тормозная система
    Тормозная система
  • SUPERSPORT - S06NP5BSA Масляный насос
    Масляный насос
  • SUPERSPORT - S06NP5BSA Карбюратор
    Карбюратор
  • SUPERSPORT - S06NP5BSA Масляный бак и воздуховод
    Масляный бак и воздуховод
  • SUPERSPORT - S06NP5BSA Трансмиссия
    Трансмиссия
  • SUPERSPORT - S06NP5BSA Поршень и коленвал
    Поршень и коленвал
  • SUPERSPORT - S06NP5BSA Шасси
    Шасси
  • SUPERSPORT - S06NP5BSA Rail mounting (edge)
    Rail mounting (edge)
  • SUPERSPORT - S06NP5BSA Панель передняя
    Панель передняя
  • SUPERSPORT - S06NP5BSA Rail mounting (m-10)
    Rail mounting (m-10)
  • SUPERSPORT - S06NP5BSA Картер
    Картер
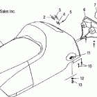
  • SUPERSPORT - S06NP5BSA Сидение
    Сидение
  • SUPERSPORT - S06NP5BSA Цилиндры
    Цилиндры
  • SUPERSPORT - S06NP5BSA Shock, front track (m-10 / 7042224)
    Shock, front track (m-10 / 7042224)
  • SUPERSPORT - S06NP5BSA Наклейки
    Наклейки
  • SUPERSPORT - S06NP5BSA Shock, rear track (edge / 7042129)
    Shock, rear track (edge / 7042129)
  • SUPERSPORT - S06NP5BSA Муфта сцепления
    Муфта сцепления
  • SUPERSPORT - S06NP5BSA Shock, rear track (m-10 / 7042216)
    Shock, rear track (m-10 / 7042216)
  • SUPERSPORT - S06NP5BSA Приводной вал
    Приводной вал
  • SUPERSPORT - S06NP5BSA Лыжа
    Лыжа
  • SUPERSPORT - S06NP5BSA Привод сцепления
    Привод сцепления
  • SUPERSPORT - S06NP5BSA Стартер
    Стартер
  • SUPERSPORT - S06NP5BSA Крепление двигателя
    Крепление двигателя
  • SUPERSPORT - S06NP5BSA Управление
    Управление
  • SUPERSPORT - S06NP5BSA Глушитель
    Глушитель
  • SUPERSPORT - S06NP5BSA Топливный насос
    Топливный насос
  • SUPERSPORT - S06NP5BSA Подвеска передняя
    Подвеска передняя
  • SUPERSPORT - S06NP5BSA Топливная система
    Топливная система
  • SUPERSPORT - S06NP5BSA Suspension, rear (edge)
    Suspension, rear (edge)
  • SUPERSPORT - S06NP5BSA Руль
    Руль
  • SUPERSPORT - S06NP5BSA Suspension, rear (m-10)
    Suspension, rear (m-10)
  • SUPERSPORT - S06NP5BSA Капот
    Капот
  • SUPERSPORT - S06NP5BSA Инструмент
    Инструмент
  • SUPERSPORT - S06NP5BSA Torque arm, front (edge)
    Torque arm, front (edge)
  • SUPERSPORT - S06NP5BSA Капот и его части
    Капот и его части
  • SUPERSPORT - S06NP5BSA Torque arm, front (m-10)
    Torque arm, front (m-10)
  • SUPERSPORT - S06NP5BSA Генератор
    Генератор
  • SUPERSPORT - S06NP5BSA Torque arm, rear (edge)
    Torque arm, rear (edge)
  • SUPERSPORT - S06NP5BSA Torque arm, rear (m-10)
    Torque arm, rear (m-10)


  Информация
  • Новости
  • О Компании
  • Оплата и Доставка
  • Помощь
  • Обратная связь
  • Контакты
  OEM запчасти
  • Запчасти для мотоциклов
  • Запчасти для квадроциклов
  • Запчасти для снегоходов
  • Запчасти для мотовездеходов
  • Запчасти для гидроциклов
  • Запчасти для лодочных моторов
  Наши контакты
  • ИП Зуев Артем Павлович
  • г. Москва 2-я Хуторская улица, д.29, офис 214
  • Email: info@partsfor.ru

Тел: ‎8(495) 532-03-60
8(909) 958-46-33; 8(925) 200-16-98

* все разговоры записываются
С 10.00 до 19.00 ПН - ПТ

© 2026 Интернет магазин запчастей для мототехники ПартсФор.

  • PaymentGateway
  • PaymentGateway
Договор-оферта
Образец договора для юр.лиц
Пользовательское соглашение
Политика конфиденциальности

Товар добавлен в корзину

Выбранный товар добавлен в Вашу корзину.
Далее Вы можете перейти в корзину для оформления заказа или закрыть это окно и продолжить покупки.

Перейти в корзину

Выбор модели техники

Выбрать