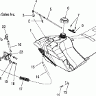
600 HO FUSION F/O - S06MP6FS (2006)

Оригинальные запчасти для снегоходов Polaris

Выбор узла

600 HO FUSION F/O - S06MP6FS (2006)