• О Компании
  • Оплата и Доставка
  • Помощь
  • Обратная связь
  • Контакты
  • Telegram
  • ВКонтакте
  • Telegram
  • ВКонтакте
  • Регистрация
  • Авторизация
Интернет магазин мотозапчастей PartsFor.ru
Москва и регионы России
  • Личный кабинет
    • Заказы
    • Оплаты
    • Отгрузки
    • Сообщения
    • Профиль
    • Выход
  • Оригинальные запчасти
    • Для мотоциклов
    • Yamaha
    • Honda
    • Suzuki
    • Kawasaki
    • Harley Davidson
    • Ducati
    • Can-Am
    • Aprilia
    • BMW
    • Triumph
    • Husaberg
    • Husqvarna
    • KTM
    • Indian
    • Victory
    • Slingshot
    • Для мотоциклов
    • Для квадроциклов
    • Для снегоходов
    • Для мотовездеходов
    • Для гидроциклов
    • Для лодочных моторов
    • Для катеров
    • Для судовых двигателей
    • Для генераторов
    • Для квадроциклов
    • Yamaha
    • Honda
    • Suzuki
    • Kawasaki
    • Arctic Cat
    • Can-Am
    • Polaris
    • KTM
    • Для снегоходов
    • Yamaha
    • Arctic Cat
    • Lynx
    • Ski-Doo
    • Polaris
    • Для генераторов
    • Для мотовездеходов
    • Yamaha
    • Honda
    • Suzuki
    • Kawasaki
    • Arctic Cat
    • Can-Am
    • Polaris
    • Polaris RZR
    • Для гидроциклов
    • Yamaha
    • Honda Marine
    • Kawasaki
    • Arctic Cat
    • Polaris
    • Sea-Doo
    • Для лодочных моторов
    • Для катеров
    • Для суд. двигателей
    • Для генераторов
    • Для лодочных моторов
    • Yamaha
    • Honda Marine
    • Suzuki Marine
    • Evinrude
    • Johnson
    • Nissan
    • Tohatsu
    • Mercury
    • Force
    • Mariner
    • Для катеров
    • Yamaha
    • Sea-Doo
    • Для суд. двигателей
    • Для спецтехники
  • Неоригинал, расходники
  • Заказ по каталогам
    • КАТАЛОГ PARTS UNLIMITED
  • Моторезина
  1. Главная
  2. Запчасти для снегоходов
  3. Polaris
  4. 1998
  5. XLT SP - 0985776

XLT SP - 0985776 (1998)

Оригинальные запчасти для снегоходов Polaris

Выбор узла

XLT SP - 0985776 (1998)
  • XLT SP - 0985776 Тормоза
    Тормоза
  • XLT SP - 0985776 Hood xlt sp 0985776
    Hood xlt sp 0985776
  • XLT SP - 0985776 Карбюратор
    Карбюратор
  • XLT SP - 0985776 Instruments xlt sp 0985776
    Instruments xlt sp 0985776
  • XLT SP - 0985776 Трансмиссия
    Трансмиссия
  • XLT SP - 0985776 Генератор
    Генератор
  • XLT SP - 0985776 Console and wire harness xlt sp 0985776
    Console and wire harness xlt sp 0985776
  • XLT SP - 0985776 Nosepan foil xlt sp 0985776
    Nosepan foil xlt sp 0985776
  • XLT SP - 0985776 Controls - 0985776
    Controls - 0985776
  • XLT SP - 0985776 Nosepan xlt sp 0985776
    Nosepan xlt sp 0985776
  • XLT SP - 0985776 Система охлаждения
    Система охлаждения
  • XLT SP - 0985776 Картер
    Картер
  • XLT SP - 0985776 Масляный насос
    Масляный насос
  • XLT SP - 0985776 Цилиндры
    Цилиндры
  • XLT SP - 0985776 Масляный бак и воздуховод
    Масляный бак и воздуховод
  • XLT SP - 0985776 Наклейки
    Наклейки
  • XLT SP - 0985776 Поршень и коленвал
    Поршень и коленвал
  • XLT SP - 0985776 Муфта сцепления
    Муфта сцепления
  • XLT SP - 0985776 Rail mounting (suspension)
    Rail mounting (suspension)
  • XLT SP - 0985776 Приводной вал
    Приводной вал
  • XLT SP - 0985776 Rear torque arm
    Rear torque arm
  • XLT SP - 0985776 Привод сцепления
    Привод сцепления
  • XLT SP - 0985776 Recoil starter xlt sp 0985776
    Recoil starter xlt sp 0985776
  • XLT SP - 0985776 Крепление двигателя
    Крепление двигателя
  • XLT SP - 0985776 Seat and gas tank xlt sp 0985776
    Seat and gas tank xlt sp 0985776
  • XLT SP - 0985776 Глушитель
    Глушитель
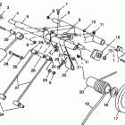
  • XLT SP - 0985776 Управление
    Управление
  • XLT SP - 0985776 Front suspension and ski
    Front suspension and ski
  • XLT SP - 0985776 Управление
    Управление
  • XLT SP - 0985776 Front torque arm
    Front torque arm
  • XLT SP - 0985776 Подвеска
    Подвеска
  • XLT SP - 0985776 Топливный насос
    Топливный насос
  • XLT SP - 0985776 Tool kit xlt sp o985776
    Tool kit xlt sp o985776
  • XLT SP - 0985776 Капот
    Капот
  • XLT SP - 0985776 Tunnel xlt sp 0985776
    Tunnel xlt sp 0985776
  • XLT SP - 0985776 Водяной насос
    Водяной насос


  Информация
  • Новости
  • О Компании
  • Оплата и Доставка
  • Помощь
  • Обратная связь
  • Контакты
  OEM запчасти
  • Запчасти для мотоциклов
  • Запчасти для квадроциклов
  • Запчасти для снегоходов
  • Запчасти для мотовездеходов
  • Запчасти для гидроциклов
  • Запчасти для лодочных моторов
  Наши контакты
  • ИП Зуев Артем Павлович
  • г. Москва 2-я Хуторская улица, д.29, офис 214
  • Email: info@partsfor.ru

Тел: ‎8(495) 532-03-60
8(909) 958-46-33; 8(925) 200-16-98

* все разговоры записываются
С 10.00 до 19.00 ПН - ПТ

© 2026 Интернет магазин запчастей для мототехники ПартсФор.

  • PaymentGateway
  • PaymentGateway
Договор-оферта
Образец договора для юр.лиц
Пользовательское соглашение
Политика конфиденциальности

Товар добавлен в корзину

Выбранный товар добавлен в Вашу корзину.
Далее Вы можете перейти в корзину для оформления заказа или закрыть это окно и продолжить покупки.

Перейти в корзину

Выбор модели техники

Выбрать