• О Компании
  • Оплата и Доставка
  • Помощь
  • Обратная связь
  • Контакты
  • Telegram
  • ВКонтакте
  • Telegram
  • ВКонтакте
  • Регистрация
  • Авторизация
Интернет магазин мотозапчастей PartsFor.ru
Москва и регионы России
  • Личный кабинет
    • Заказы
    • Оплаты
    • Отгрузки
    • Сообщения
    • Профиль
    • Выход
  • Оригинальные запчасти
    • Для мотоциклов
    • Yamaha
    • Honda
    • Suzuki
    • Kawasaki
    • Harley Davidson
    • Ducati
    • Can-Am
    • Aprilia
    • BMW
    • Triumph
    • Husaberg
    • Husqvarna
    • KTM
    • Indian
    • Victory
    • Slingshot
    • Для мотоциклов
    • Для квадроциклов
    • Для снегоходов
    • Для мотовездеходов
    • Для гидроциклов
    • Для лодочных моторов
    • Для катеров
    • Для судовых двигателей
    • Для генераторов
    • Для квадроциклов
    • Yamaha
    • Honda
    • Suzuki
    • Kawasaki
    • Arctic Cat
    • Can-Am
    • Polaris
    • KTM
    • Для снегоходов
    • Yamaha
    • Arctic Cat
    • Lynx
    • Ski-Doo
    • Polaris
    • Для генераторов
    • Для мотовездеходов
    • Yamaha
    • Honda
    • Suzuki
    • Kawasaki
    • Arctic Cat
    • Can-Am
    • Polaris
    • Polaris RZR
    • Для гидроциклов
    • Yamaha
    • Honda Marine
    • Kawasaki
    • Arctic Cat
    • Polaris
    • Sea-Doo
    • Для лодочных моторов
    • Для катеров
    • Для суд. двигателей
    • Для генераторов
    • Для лодочных моторов
    • Yamaha
    • Honda Marine
    • Suzuki Marine
    • Evinrude
    • Johnson
    • Nissan
    • Tohatsu
    • Mercury
    • Force
    • Mariner
    • Для катеров
    • Yamaha
    • Sea-Doo
    • Для суд. двигателей
    • Для спецтехники
  • Неоригинал, расходники
  • Заказ по каталогам
    • КАТАЛОГ PARTS UNLIMITED
  • Моторезина
  1. Главная
  2. Запчасти для снегоходов
  3. Polaris
  4. 1998
  5. XCF - 0981643

XCF - 0981643 (1998)

Оригинальные запчасти для снегоходов Polaris

Выбор узла

XCF - 0981643 (1998)
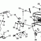
  • XCF - 0981643 Blower housing and recoil starter xcf 0981643
    Blower housing and recoil starter xcf 0981643
  • XCF - 0981643 Hood xcf 0981643
    Hood xcf 0981643
  • XCF - 0981643 Brake xcf 0981643
    Brake xcf 0981643
  • XCF - 0981643 Magneto xcf 0981643
    Magneto xcf 0981643
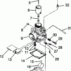
  • XCF - 0981643 Carburetor xcf 0981643
    Carburetor xcf 0981643
  • XCF - 0981643 Master cylinder xcf 0981643
    Master cylinder xcf 0981643
  • XCF - 0981643 Chaincase xcf 0981643
    Chaincase xcf 0981643
  • XCF - 0981643 Nosepan xcf 0981643
    Nosepan xcf 0981643
  • XCF - 0981643 Console xcf 0981643
    Console xcf 0981643
  • XCF - 0981643 Crankcase xcf 0981643
    Crankcase xcf 0981643
  • XCF - 0981643 Oil pump xcf 0981643
    Oil pump xcf 0981643
  • XCF - 0981643 Cylinder xcf 0981643
    Cylinder xcf 0981643
  • XCF - 0981643 Oil tank / air box xcf 0981643
    Oil tank / air box xcf 0981643
  • XCF - 0981643 Decals xcf 0981643
    Decals xcf 0981643
  • XCF - 0981643 Piston and crankshaft xcf 0981643
    Piston and crankshaft xcf 0981643
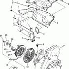
  • XCF - 0981643 Drive clutch xcf 0981643
    Drive clutch xcf 0981643
  • XCF - 0981643 Rail mounting (suspension) xcf 0981643
    Rail mounting (suspension) xcf 0981643
  • XCF - 0981643 Drive train xcf 0981643
    Drive train xcf 0981643
  • XCF - 0981643 Rear torque arm xcf 0981643
    Rear torque arm xcf 0981643
  • XCF - 0981643 Driven clutch xcf 0981643
    Driven clutch xcf 0981643
  • XCF - 0981643 Seat and gas tank xcf 0981643
    Seat and gas tank xcf 0981643
  • XCF - 0981643 Engine mounting xcf 0981643
    Engine mounting xcf 0981643
  • XCF - 0981643 Ski xcf 0981643
    Ski xcf 0981643
  • XCF - 0981643 Exhaust system xcf 0981643
    Exhaust system xcf 0981643
  • XCF - 0981643 Управление
    Управление
  • XCF - 0981643 Front suspension xcf 0981643
    Front suspension xcf 0981643
  • XCF - 0981643 Steering xcf 0981643
    Steering xcf 0981643
  • XCF - 0981643 Front torque arm xcf 0981643
    Front torque arm xcf 0981643
  • XCF - 0981643 Suspension xcf 0981643
    Suspension xcf 0981643
  • XCF - 0981643 Fuel pump xcf 0981643
    Fuel pump xcf 0981643
  • XCF - 0981643 Tool kit xcf 0981643
    Tool kit xcf 0981643
  • XCF - 0981643 Капот
    Капот
  • XCF - 0981643 Tunnel xcf 0981643
    Tunnel xcf 0981643


  Информация
  • Новости
  • О Компании
  • Оплата и Доставка
  • Помощь
  • Обратная связь
  • Контакты
  OEM запчасти
  • Запчасти для мотоциклов
  • Запчасти для квадроциклов
  • Запчасти для снегоходов
  • Запчасти для мотовездеходов
  • Запчасти для гидроциклов
  • Запчасти для лодочных моторов
  Наши контакты
  • ИП Зуев Артем Павлович
  • г. Москва 2-я Хуторская улица, д.29, офис 214
  • Email: info@partsfor.ru

Тел: ‎8(495) 532-03-60
8(909) 958-46-33; 8(925) 200-16-98

* все разговоры записываются
С 10.00 до 19.00 ПН - ПТ

© 2026 Интернет магазин запчастей для мототехники ПартсФор.

  • PaymentGateway
  • PaymentGateway
Договор-оферта
Образец договора для юр.лиц
Пользовательское соглашение
Политика конфиденциальности

Товар добавлен в корзину

Выбранный товар добавлен в Вашу корзину.
Далее Вы можете перейти в корзину для оформления заказа или закрыть это окно и продолжить покупки.

Перейти в корзину

Выбор модели техники

Выбрать