• О Компании
  • Оплата и Доставка
  • Помощь
  • Обратная связь
  • Контакты
  • Telegram
  • ВКонтакте
  • Telegram
  • ВКонтакте
  • Регистрация
  • Авторизация
Интернет магазин мотозапчастей PartsFor.ru
Москва и регионы России
  • Личный кабинет
    • Заказы
    • Оплаты
    • Отгрузки
    • Сообщения
    • Профиль
    • Выход
  • Оригинальные запчасти
    • Для мотоциклов
    • Yamaha
    • Honda
    • Suzuki
    • Kawasaki
    • Harley Davidson
    • Ducati
    • Can-Am
    • Aprilia
    • BMW
    • Triumph
    • Husaberg
    • Husqvarna
    • KTM
    • Indian
    • Victory
    • Slingshot
    • Для мотоциклов
    • Для квадроциклов
    • Для снегоходов
    • Для мотовездеходов
    • Для гидроциклов
    • Для лодочных моторов
    • Для катеров
    • Для судовых двигателей
    • Для генераторов
    • Для квадроциклов
    • Yamaha
    • Honda
    • Suzuki
    • Kawasaki
    • Arctic Cat
    • Can-Am
    • Polaris
    • KTM
    • Для снегоходов
    • Yamaha
    • Arctic Cat
    • Lynx
    • Ski-Doo
    • Polaris
    • Для генераторов
    • Для мотовездеходов
    • Yamaha
    • Honda
    • Suzuki
    • Kawasaki
    • Arctic Cat
    • Can-Am
    • Polaris
    • Polaris RZR
    • Для гидроциклов
    • Yamaha
    • Honda Marine
    • Kawasaki
    • Arctic Cat
    • Polaris
    • Sea-Doo
    • Для лодочных моторов
    • Для катеров
    • Для суд. двигателей
    • Для генераторов
    • Для лодочных моторов
    • Yamaha
    • Honda Marine
    • Suzuki Marine
    • Evinrude
    • Johnson
    • Nissan
    • Tohatsu
    • Mercury
    • Force
    • Mariner
    • Для катеров
    • Yamaha
    • Sea-Doo
    • Для суд. двигателей
    • Для спецтехники
  • Неоригинал, расходники
  • Заказ по каталогам
    • КАТАЛОГ PARTS UNLIMITED
  • Моторезина
  1. Главная
  2. Запчасти для снегоходов
  3. Polaris
  4. 1998
  5. LITE - 0983433

LITE - 0983433 (1998)

Оригинальные запчасти для снегоходов Polaris

Выбор узла

LITE - 0983433 (1998)
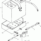
  • LITE - 0983433 Battery box (deluxe)
    Battery box (deluxe)
  • LITE - 0983433 Fuel pump lite 0983433 and lite deluxe 0983431
    Fuel pump lite 0983433 and lite deluxe 0983431
  • LITE - 0983433 Blower housing & recoil lite 0983433 and lite deluxe 098...
    Blower housing & recoil lite 0983433 and lite deluxe 098...
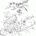
  • LITE - 0983433 Капот
    Капот
  • LITE - 0983433 Тормоза
    Тормоза
  • LITE - 0983433 Капот
    Капот
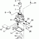
  • LITE - 0983433 Carburetor lite 0983433 and lite deluxe 0983431
    Carburetor lite 0983433 and lite deluxe 0983431
  • LITE - 0983433 Magneto lite 0983433 and lite deluxe 0983431
    Magneto lite 0983433 and lite deluxe 0983431
  • LITE - 0983433 Трансмиссия
    Трансмиссия
  • LITE - 0983433 Nosepan and console
    Nosepan and console
  • LITE - 0983433 Crankcase lite 0983433 and lite deluxe 0983431
    Crankcase lite 0983433 and lite deluxe 0983431
  • LITE - 0983433 Oil pump lite 0983433 and lite deluxe 0983431
    Oil pump lite 0983433 and lite deluxe 0983431
  • LITE - 0983433 Cylinder lite 0983433 and lite deluxe 0983431
    Cylinder lite 0983433 and lite deluxe 0983431
  • LITE - 0983433 Oil tank  /  air box lite 0983433 and lite deluxe 098343...
    Oil tank / air box lite 0983433 and lite deluxe 098343...
  • LITE - 0983433 Наклейки
    Наклейки
  • LITE - 0983433 Piston and crankshaft lite 0983433 and lite deluxe 09834...
    Piston and crankshaft lite 0983433 and lite deluxe 09834...
  • LITE - 0983433 Муфта сцепления
    Муфта сцепления
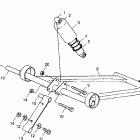
  • LITE - 0983433 Rail mounting (suspension)
    Rail mounting (suspension)
  • LITE - 0983433 Приводной вал
    Приводной вал
  • LITE - 0983433 Rear torque arm
    Rear torque arm
  • LITE - 0983433 Привод сцепления
    Привод сцепления
  • LITE - 0983433 Starting motor lite o983433 and lite deluxe o983431
    Starting motor lite o983433 and lite deluxe o983431
  • LITE - 0983433 Крепление двигателя
    Крепление двигателя
  • LITE - 0983433 Управление
    Управление
  • LITE - 0983433 Глушитель
    Глушитель
  • LITE - 0983433 Подвеска
    Подвеска
  • LITE - 0983433 Front suspension and ski
    Front suspension and ski
  • LITE - 0983433 Tool kit lite 0983433 and lite deluxe 0983431
    Tool kit lite 0983433 and lite deluxe 0983431
  • LITE - 0983433 Front torque arm
    Front torque arm
  • LITE - 0983433 Tunnel and seat
    Tunnel and seat


  Информация
  • Новости
  • О Компании
  • Оплата и Доставка
  • Помощь
  • Обратная связь
  • Контакты
  OEM запчасти
  • Запчасти для мотоциклов
  • Запчасти для квадроциклов
  • Запчасти для снегоходов
  • Запчасти для мотовездеходов
  • Запчасти для гидроциклов
  • Запчасти для лодочных моторов
  Наши контакты
  • ИП Зуев Артем Павлович
  • г. Москва 2-я Хуторская улица, д.29, офис 214
  • Email: info@partsfor.ru

Тел: ‎8(495) 532-03-60
8(909) 958-46-33; 8(925) 200-16-98

* все разговоры записываются
С 10.00 до 19.00 ПН - ПТ

© 2026 Интернет магазин запчастей для мототехники ПартсФор.

  • PaymentGateway
  • PaymentGateway
Договор-оферта
Образец договора для юр.лиц
Пользовательское соглашение
Политика конфиденциальности

Товар добавлен в корзину

Выбранный товар добавлен в Вашу корзину.
Далее Вы можете перейти в корзину для оформления заказа или закрыть это окно и продолжить покупки.

Перейти в корзину

Выбор модели техники

Выбрать