• О Компании
  • Оплата и Доставка
  • Помощь
  • Обратная связь
  • Контакты
  • Telegram
  • ВКонтакте
  • Telegram
  • ВКонтакте
  • Регистрация
  • Авторизация
Интернет магазин мотозапчастей PartsFor.ru
Москва и регионы России
  • Личный кабинет
    • Заказы
    • Оплаты
    • Отгрузки
    • Сообщения
    • Профиль
    • Выход
  • Оригинальные запчасти
    • Для мотоциклов
    • Yamaha
    • Honda
    • Suzuki
    • Kawasaki
    • Harley Davidson
    • Ducati
    • Can-Am
    • Aprilia
    • BMW
    • Triumph
    • Husaberg
    • Husqvarna
    • KTM
    • Indian
    • Victory
    • Slingshot
    • Для мотоциклов
    • Для квадроциклов
    • Для снегоходов
    • Для мотовездеходов
    • Для гидроциклов
    • Для лодочных моторов
    • Для катеров
    • Для судовых двигателей
    • Для генераторов
    • Для квадроциклов
    • Yamaha
    • Honda
    • Suzuki
    • Kawasaki
    • Arctic Cat
    • Can-Am
    • Polaris
    • KTM
    • Для снегоходов
    • Yamaha
    • Arctic Cat
    • Lynx
    • Ski-Doo
    • Polaris
    • Для генераторов
    • Для мотовездеходов
    • Yamaha
    • Honda
    • Suzuki
    • Kawasaki
    • Arctic Cat
    • Can-Am
    • Polaris
    • Polaris RZR
    • Для гидроциклов
    • Yamaha
    • Honda Marine
    • Kawasaki
    • Arctic Cat
    • Polaris
    • Sea-Doo
    • Для лодочных моторов
    • Для катеров
    • Для суд. двигателей
    • Для генераторов
    • Для лодочных моторов
    • Yamaha
    • Honda Marine
    • Suzuki Marine
    • Evinrude
    • Johnson
    • Nissan
    • Tohatsu
    • Mercury
    • Force
    • Mariner
    • Для катеров
    • Yamaha
    • Sea-Doo
    • Для суд. двигателей
    • Для спецтехники
  • Неоригинал, расходники
  • Заказ по каталогам
    • КАТАЛОГ PARTS UNLIMITED
  • Моторезина
  1. Главная
  2. Запчасти для снегоходов
  3. Polaris
  4. 1998
  5. CLASSIC - 0983865

CLASSIC - 0983865 (1998)

Оригинальные запчасти для снегоходов Polaris

Выбор узла

CLASSIC - 0983865 (1998)
  • CLASSIC - 0983865 Battery box classic 0983865
    Battery box classic 0983865
  • CLASSIC - 0983865 Hood classic 0983865
    Hood classic 0983865
  • CLASSIC - 0983865 Тормоза
    Тормоза
  • CLASSIC - 0983865 Ignition and wire harness
    Ignition and wire harness
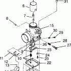
  • CLASSIC - 0983865 Carburetor classic 0983865
    Carburetor classic 0983865
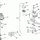
  • CLASSIC - 0983865 Magneto classic 0983865
    Magneto classic 0983865
  • CLASSIC - 0983865 Трансмиссия
    Трансмиссия
  • CLASSIC - 0983865 Nosepan classic 0983865
    Nosepan classic 0983865
  • CLASSIC - 0983865 Controls - 0983865
    Controls - 0983865
  • CLASSIC - 0983865 Система охлаждения
    Система охлаждения
  • CLASSIC - 0983865 Oil pump classic 0983865
    Oil pump classic 0983865
  • CLASSIC - 0983865 Crankcase classic 0983865
    Crankcase classic 0983865
  • CLASSIC - 0983865 Oil tank  /  air box classic 0983865
    Oil tank / air box classic 0983865
  • CLASSIC - 0983865 Cylinder classic 0983865
    Cylinder classic 0983865
  • CLASSIC - 0983865 Piston and crankshaft classic 0983865
    Piston and crankshaft classic 0983865
  • CLASSIC - 0983865 Decals classic  0983865
    Decals classic 0983865
  • CLASSIC - 0983865 Rear torque arm
    Rear torque arm
  • CLASSIC - 0983865 Муфта сцепления
    Муфта сцепления
  • CLASSIC - 0983865 Recoil starter classic 0983865
    Recoil starter classic 0983865
  • CLASSIC - 0983865 Приводной вал
    Приводной вал
  • CLASSIC - 0983865 Seat and gas tank classic 0983865
    Seat and gas tank classic 0983865
  • CLASSIC - 0983865 Привод сцепления
    Привод сцепления
  • CLASSIC - 0983865 Starting motor classic 0983865
    Starting motor classic 0983865
  • CLASSIC - 0983865 Engine mounting classic 0983865
    Engine mounting classic 0983865
  • CLASSIC - 0983865 Управление
    Управление
  • CLASSIC - 0983865 Exhaust system classic 0983865
    Exhaust system classic 0983865
  • CLASSIC - 0983865 Управление
    Управление
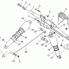
  • CLASSIC - 0983865 Front suspension and ski classic 0983865
    Front suspension and ski classic 0983865
  • CLASSIC - 0983865 Подвеска
    Подвеска
  • CLASSIC - 0983865 Front torque arm
    Front torque arm
  • CLASSIC - 0983865 Fuel pump classic 0983865
    Fuel pump classic 0983865
  • CLASSIC - 0983865 Tool kit classic 0983865
    Tool kit classic 0983865
  • CLASSIC - 0983865 Капот
    Капот
  • CLASSIC - 0983865 Tunnel classic 0983865
    Tunnel classic 0983865
  • CLASSIC - 0983865 Water pump classic 0983865
    Water pump classic 0983865


  Информация
  • Новости
  • О Компании
  • Оплата и Доставка
  • Помощь
  • Обратная связь
  • Контакты
  OEM запчасти
  • Запчасти для мотоциклов
  • Запчасти для квадроциклов
  • Запчасти для снегоходов
  • Запчасти для мотовездеходов
  • Запчасти для гидроциклов
  • Запчасти для лодочных моторов
  Наши контакты
  • ИП Зуев Артем Павлович
  • г. Москва 2-я Хуторская улица, д.29, офис 214
  • Email: info@partsfor.ru

Тел: ‎8(495) 532-03-60
8(909) 958-46-33; 8(925) 200-16-98

* все разговоры записываются
С 10.00 до 19.00 ПН - ПТ

© 2026 Интернет магазин запчастей для мототехники ПартсФор.

  • PaymentGateway
  • PaymentGateway
Договор-оферта
Образец договора для юр.лиц
Пользовательское соглашение
Политика конфиденциальности

Товар добавлен в корзину

Выбранный товар добавлен в Вашу корзину.
Далее Вы можете перейти в корзину для оформления заказа или закрыть это окно и продолжить покупки.

Перейти в корзину

Выбор модели техники

Выбрать