600 RMK - 0980958 (1998)

Оригинальные запчасти для снегоходов Polaris

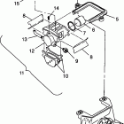
Выбор узла

600 RMK - 0980958 (1998)