• О Компании
  • Оплата и Доставка
  • Помощь
  • Обратная связь
  • Контакты
  • Telegram
  • ВКонтакте
  • Telegram
  • ВКонтакте
  • Регистрация
  • Авторизация
Интернет магазин мотозапчастей PartsFor.ru
Москва и регионы России
  • Личный кабинет
    • Заказы
    • Оплаты
    • Отгрузки
    • Сообщения
    • Профиль
    • Выход
  • Оригинальные запчасти
    • Для мотоциклов
    • Yamaha
    • Honda
    • Suzuki
    • Kawasaki
    • Harley Davidson
    • Ducati
    • Can-Am
    • Aprilia
    • BMW
    • Triumph
    • Husaberg
    • Husqvarna
    • KTM
    • Indian
    • Victory
    • Slingshot
    • Для мотоциклов
    • Для квадроциклов
    • Для снегоходов
    • Для мотовездеходов
    • Для гидроциклов
    • Для лодочных моторов
    • Для катеров
    • Для судовых двигателей
    • Для генераторов
    • Для квадроциклов
    • Yamaha
    • Honda
    • Suzuki
    • Kawasaki
    • Arctic Cat
    • Can-Am
    • Polaris
    • KTM
    • Для снегоходов
    • Yamaha
    • Arctic Cat
    • Lynx
    • Ski-Doo
    • Polaris
    • Для генераторов
    • Для мотовездеходов
    • Yamaha
    • Honda
    • Suzuki
    • Kawasaki
    • Arctic Cat
    • Can-Am
    • Polaris
    • Polaris RZR
    • Для гидроциклов
    • Yamaha
    • Honda Marine
    • Kawasaki
    • Arctic Cat
    • Polaris
    • Sea-Doo
    • Для лодочных моторов
    • Для катеров
    • Для суд. двигателей
    • Для генераторов
    • Для лодочных моторов
    • Yamaha
    • Honda Marine
    • Suzuki Marine
    • Evinrude
    • Johnson
    • Nissan
    • Tohatsu
    • Mercury
    • Force
    • Mariner
    • Для катеров
    • Yamaha
    • Sea-Doo
    • Для суд. двигателей
    • Для спецтехники
  • Неоригинал, расходники
  • Заказ по каталогам
    • КАТАЛОГ PARTS UNLIMITED
  • Моторезина
  1. Главная
  2. Запчасти для снегоходов
  3. Polaris
  4. 1997
  5. 0976768 RXL

0976768 RXL (1997)

Оригинальные запчасти для снегоходов Polaris

Выбор узла

0976768 RXL (1997)
  • 0976768 RXL Battery box rxl 0976768
    Battery box rxl 0976768
  • 0976768 RXL Hood rxl 0976768
    Hood rxl 0976768
  • 0976768 RXL Brake rxl 0976768
    Brake rxl 0976768
  • 0976768 RXL Magneto  rxl 0976768
    Magneto rxl 0976768
  • 0976768 RXL Bulkhead rxl 0976768
    Bulkhead rxl 0976768
  • 0976768 RXL Master cylinder rxl 0976768
    Master cylinder rxl 0976768
  • 0976768 RXL Chaincase rxl 0976768
    Chaincase rxl 0976768
  • 0976768 RXL Nosepan rxl 0976768
    Nosepan rxl 0976768
  • 0976768 RXL Console rxl 0976768
    Console rxl 0976768
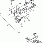
  • 0976768 RXL Cooling system rxl 0976768
    Cooling system rxl 0976768
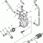
  • 0976768 RXL Oil pump rxl 0976768
    Oil pump rxl 0976768
  • 0976768 RXL Crankcase rxl 0976768
    Crankcase rxl 0976768
  • 0976768 RXL Oil tank  /  air box  rxl 0976768
    Oil tank / air box rxl 0976768
  • 0976768 RXL Cylinder  rxl 0976768
    Cylinder rxl 0976768
  • 0976768 RXL Piston and crankshaft rxl 0976768
    Piston and crankshaft rxl 0976768
  • 0976768 RXL Decals rxl 0976768
    Decals rxl 0976768
  • 0976768 RXL Rear torque arm rxl 0976768
    Rear torque arm rxl 0976768
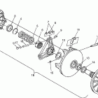
  • 0976768 RXL Drive clutch rxl 0976768
    Drive clutch rxl 0976768
  • 0976768 RXL Recoil starter rxl 0976768
    Recoil starter rxl 0976768
  • 0976768 RXL Drive train  rxl 0976768
    Drive train rxl 0976768
  • 0976768 RXL Seat and gas tank rxl 0976768
    Seat and gas tank rxl 0976768
  • 0976768 RXL Driven clutch rxl 0976768
    Driven clutch rxl 0976768
  • 0976768 RXL Steering  rxl 0976768
    Steering rxl 0976768
  • 0976768 RXL Efi parts rxl 0976768
    Efi parts rxl 0976768
  • 0976768 RXL Управление
    Управление
  • 0976768 RXL Engine mounting rxl 0976768
    Engine mounting rxl 0976768
  • 0976768 RXL Suspension rxl 0976768
    Suspension rxl 0976768
  • 0976768 RXL Exhaust system rxl 0976768
    Exhaust system rxl 0976768
  • 0976768 RXL Foam and foil rxl 0976768
    Foam and foil rxl 0976768
  • 0976768 RXL Throttle rxl 0976768
    Throttle rxl 0976768
  • 0976768 RXL Front suspension and ski rxl 0976768
    Front suspension and ski rxl 0976768
  • 0976768 RXL Tool kit rxl 0976768
    Tool kit rxl 0976768
  • 0976768 RXL Front torque arm rxl 0976768
    Front torque arm rxl 0976768
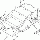
  • 0976768 RXL Tunnel rxl 0976768
    Tunnel rxl 0976768
  • 0976768 RXL Fuel pump rxl 0976768
    Fuel pump rxl 0976768
  • 0976768 RXL Water pump rxl 0976768
    Water pump rxl 0976768


  Информация
  • Новости
  • О Компании
  • Оплата и Доставка
  • Помощь
  • Обратная связь
  • Контакты
  OEM запчасти
  • Запчасти для мотоциклов
  • Запчасти для квадроциклов
  • Запчасти для снегоходов
  • Запчасти для мотовездеходов
  • Запчасти для гидроциклов
  • Запчасти для лодочных моторов
  Наши контакты
  • ИП Зуев Артем Павлович
  • г. Москва 2-я Хуторская улица, д.29, офис 214
  • Email: info@partsfor.ru

Тел: ‎8(495) 532-03-60
8(909) 958-46-33; 8(925) 200-16-98

* все разговоры записываются
С 10.00 до 19.00 ПН - ПТ

© 2026 Интернет магазин запчастей для мототехники ПартсФор.

  • PaymentGateway
  • PaymentGateway
Договор-оферта
Образец договора для юр.лиц
Пользовательское соглашение
Политика конфиденциальности

Товар добавлен в корзину

Выбранный товар добавлен в Вашу корзину.
Далее Вы можете перейти в корзину для оформления заказа или закрыть это окно и продолжить покупки.

Перейти в корзину

Выбор модели техники

Выбрать