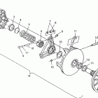
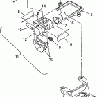
0970566 700 SKS (1997)

Оригинальные запчасти для снегоходов Polaris

Выбор узла

0970566 700 SKS (1997)