• О Компании
  • Оплата и Доставка
  • Помощь
  • Обратная связь
  • Контакты
  • Telegram
  • ВКонтакте
  • Telegram
  • ВКонтакте
  • Регистрация
  • Авторизация
Интернет магазин мотозапчастей PartsFor.ru
Москва и регионы России
  • Личный кабинет
    • Заказы
    • Оплаты
    • Отгрузки
    • Сообщения
    • Профиль
    • Выход
  • Оригинальные запчасти
    • Для мотоциклов
    • Yamaha
    • Honda
    • Suzuki
    • Kawasaki
    • Harley Davidson
    • Ducati
    • Can-Am
    • Aprilia
    • BMW
    • Triumph
    • Husaberg
    • Husqvarna
    • KTM
    • Indian
    • Victory
    • Slingshot
    • Для мотоциклов
    • Для квадроциклов
    • Для снегоходов
    • Для мотовездеходов
    • Для гидроциклов
    • Для лодочных моторов
    • Для катеров
    • Для судовых двигателей
    • Для генераторов
    • Для квадроциклов
    • Yamaha
    • Honda
    • Suzuki
    • Kawasaki
    • Arctic Cat
    • Can-Am
    • Polaris
    • KTM
    • Для снегоходов
    • Yamaha
    • Arctic Cat
    • Lynx
    • Ski-Doo
    • Polaris
    • Для генераторов
    • Для мотовездеходов
    • Yamaha
    • Honda
    • Suzuki
    • Kawasaki
    • Arctic Cat
    • Can-Am
    • Polaris
    • Polaris RZR
    • Для гидроциклов
    • Yamaha
    • Honda Marine
    • Kawasaki
    • Arctic Cat
    • Polaris
    • Sea-Doo
    • Для лодочных моторов
    • Для катеров
    • Для суд. двигателей
    • Для генераторов
    • Для лодочных моторов
    • Yamaha
    • Honda Marine
    • Suzuki Marine
    • Evinrude
    • Johnson
    • Nissan
    • Tohatsu
    • Mercury
    • Force
    • Mariner
    • Для катеров
    • Yamaha
    • Sea-Doo
    • Для суд. двигателей
    • Для спецтехники
  • Неоригинал, расходники
  • Заказ по каталогам
    • КАТАЛОГ PARTS UNLIMITED
  • Моторезина
  1. Главная
  2. Запчасти для снегоходов
  3. Polaris
  4. 1995
  5. X951660 440 XCR SP

X951660 440 XCR SP (1995)

Оригинальные запчасти для снегоходов Polaris

Выбор узла

X951660 440 XCR SP (1995)
  • X951660 440 XCR SP Brake assembly  440 xcr sp x951660
    Brake assembly 440 xcr sp x951660
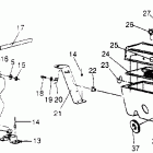
  • X951660 440 XCR SP Капот
    Капот
  • X951660 440 XCR SP Carburetor assembly  440 xcr sp x951660
    Carburetor assembly 440 xcr sp x951660
  • X951660 440 XCR SP Капот
    Капот
  • X951660 440 XCR SP Chaincase assembly  440 xcr sp x951660
    Chaincase assembly 440 xcr sp x951660
  • X951660 440 XCR SP Magneto assembly  440 xcr sp x951660
    Magneto assembly 440 xcr sp x951660
  • X951660 440 XCR SP Панель передняя
    Панель передняя
  • X951660 440 XCR SP Master cylinder assembly  440 xcr sp x951660
    Master cylinder assembly 440 xcr sp x951660
  • X951660 440 XCR SP Cooling system  440 xcr sp x951660
    Cooling system 440 xcr sp x951660
  • X951660 440 XCR SP Nosepan
    Nosepan
  • X951660 440 XCR SP Crankcase assembly  440 xcr sp x951660
    Crankcase assembly 440 xcr sp x951660
  • X951660 440 XCR SP Cylinder assembly  440 xcr sp x951660
    Cylinder assembly 440 xcr sp x951660
  • X951660 440 XCR SP Oil pump assembly  440 xcr sp x951660
    Oil pump assembly 440 xcr sp x951660
  • X951660 440 XCR SP Наклейки
    Наклейки
  • X951660 440 XCR SP Oil tank / air box assembly  440 xcr sp x951660
    Oil tank / air box assembly 440 xcr sp x951660
  • X951660 440 XCR SP Drive clutch assembly  440 xcr sp x951660
    Drive clutch assembly 440 xcr sp x951660
  • X951660 440 XCR SP Piston and crankshaft  440 xcr sp x951660
    Piston and crankshaft 440 xcr sp x951660
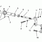
  • X951660 440 XCR SP Drive train assembly  440 xcr sp x951660
    Drive train assembly 440 xcr sp x951660
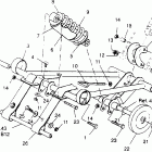
  • X951660 440 XCR SP Rear torque arm assembly  440 xcr sp x951660
    Rear torque arm assembly 440 xcr sp x951660
  • X951660 440 XCR SP Driven clutch assembly  440 xcr sp x951660
    Driven clutch assembly 440 xcr sp x951660
  • X951660 440 XCR SP Recoil starter assembly  440 xcr sp x951660
    Recoil starter assembly 440 xcr sp x951660
  • X951660 440 XCR SP Engine mounting  440 xcr sp x951660
    Engine mounting 440 xcr sp x951660
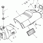
  • X951660 440 XCR SP Seat and gas tank assembly
    Seat and gas tank assembly
  • X951660 440 XCR SP Exhaust system  440 xcr sp x951660
    Exhaust system 440 xcr sp x951660
  • X951660 440 XCR SP Управление
    Управление
  • X951660 440 XCR SP Fox shock
    Fox shock
  • X951660 440 XCR SP Steering assembly 440 xcr sp x951660
    Steering assembly 440 xcr sp x951660
  • X951660 440 XCR SP Fox shock
    Fox shock
  • X951660 440 XCR SP Suspension assembly  440 xcr sp x951660
    Suspension assembly 440 xcr sp x951660
  • X951660 440 XCR SP Fox shock
    Fox shock
  • X951660 440 XCR SP Tool kit  440 xcr sp x951660
    Tool kit 440 xcr sp x951660
  • X951660 440 XCR SP Front suspension and ski 440 xcr sp x951660
    Front suspension and ski 440 xcr sp x951660
  • X951660 440 XCR SP Torsion bar assembly 440 xcr sp x951660
    Torsion bar assembly 440 xcr sp x951660
  • X951660 440 XCR SP Front torque arm assembly  440 xcr sp x951660
    Front torque arm assembly 440 xcr sp x951660
  • X951660 440 XCR SP Шасси
    Шасси
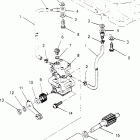
  • X951660 440 XCR SP Fuel pump  440 xcr sp x951660
    Fuel pump 440 xcr sp x951660
  • X951660 440 XCR SP Water pump  440 xcr sp x951660
    Water pump 440 xcr sp x951660


  Информация
  • Новости
  • О Компании
  • Оплата и Доставка
  • Помощь
  • Обратная связь
  • Контакты
  OEM запчасти
  • Запчасти для мотоциклов
  • Запчасти для квадроциклов
  • Запчасти для снегоходов
  • Запчасти для мотовездеходов
  • Запчасти для гидроциклов
  • Запчасти для лодочных моторов
  Наши контакты
  • ИП Зуев Артем Павлович
  • г. Москва 2-я Хуторская улица, д.29, офис 214
  • Email: info@partsfor.ru

Тел: ‎8(495) 532-03-60
8(909) 958-46-33; 8(925) 200-16-98

* все разговоры записываются
С 10.00 до 19.00 ПН - ПТ

© 2026 Интернет магазин запчастей для мототехники ПартсФор.

  • PaymentGateway
  • PaymentGateway
Договор-оферта
Образец договора для юр.лиц
Пользовательское соглашение
Политика конфиденциальности

Товар добавлен в корзину

Выбранный товар добавлен в Вашу корзину.
Далее Вы можете перейти в корзину для оформления заказа или закрыть это окно и продолжить покупки.

Перейти в корзину

Выбор модели техники

Выбрать