• О Компании
  • Оплата и Доставка
  • Помощь
  • Обратная связь
  • Контакты
  • Telegram
  • ВКонтакте
  • Telegram
  • ВКонтакте
  • Регистрация
  • Авторизация
Интернет магазин мотозапчастей PartsFor.ru
Москва и регионы России
  • Личный кабинет
    • Заказы
    • Оплаты
    • Отгрузки
    • Сообщения
    • Профиль
    • Выход
  • Оригинальные запчасти
    • Для мотоциклов
    • Yamaha
    • Honda
    • Suzuki
    • Kawasaki
    • Harley Davidson
    • Ducati
    • Can-Am
    • Aprilia
    • BMW
    • Triumph
    • Husaberg
    • Husqvarna
    • KTM
    • Indian
    • Victory
    • Slingshot
    • Для мотоциклов
    • Для квадроциклов
    • Для снегоходов
    • Для мотовездеходов
    • Для гидроциклов
    • Для лодочных моторов
    • Для катеров
    • Для судовых двигателей
    • Для генераторов
    • Для квадроциклов
    • Yamaha
    • Honda
    • Suzuki
    • Kawasaki
    • Arctic Cat
    • Can-Am
    • Polaris
    • KTM
    • Для снегоходов
    • Yamaha
    • Arctic Cat
    • Lynx
    • Ski-Doo
    • Polaris
    • Для генераторов
    • Для мотовездеходов
    • Yamaha
    • Honda
    • Suzuki
    • Kawasaki
    • Arctic Cat
    • Can-Am
    • Polaris
    • Polaris RZR
    • Для гидроциклов
    • Yamaha
    • Honda Marine
    • Kawasaki
    • Arctic Cat
    • Polaris
    • Sea-Doo
    • Для лодочных моторов
    • Для катеров
    • Для суд. двигателей
    • Для генераторов
    • Для лодочных моторов
    • Yamaha
    • Honda Marine
    • Suzuki Marine
    • Evinrude
    • Johnson
    • Nissan
    • Tohatsu
    • Mercury
    • Force
    • Mariner
    • Для катеров
    • Yamaha
    • Sea-Doo
    • Для суд. двигателей
    • Для спецтехники
  • Неоригинал, расходники
  • Заказ по каталогам
    • КАТАЛОГ PARTS UNLIMITED
  • Моторезина
  1. Главная
  2. Запчасти для снегоходов
  3. Polaris
  4. 1995
  5. 0952865 CLASSIC

0952865 CLASSIC (1995)

Оригинальные запчасти для снегоходов Polaris

Выбор узла

0952865 CLASSIC (1995)
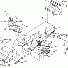
  • 0952865 CLASSIC Battery box classic 0952865
    Battery box classic 0952865
  • 0952865 CLASSIC Hood / headlight assembly classic 0952865
    Hood / headlight assembly classic 0952865
  • 0952865 CLASSIC Brake assembly classic 0952865
    Brake assembly classic 0952865
  • 0952865 CLASSIC Ignition and wire harness classic 0952865
    Ignition and wire harness classic 0952865
  • 0952865 CLASSIC Carburetor assembly classic 0952865
    Carburetor assembly classic 0952865
  • 0952865 CLASSIC Magneto assembly classic 0952865
    Magneto assembly classic 0952865
  • 0952865 CLASSIC Chaincase assembly classic 0952865
    Chaincase assembly classic 0952865
  • 0952865 CLASSIC Nosepan assembly classic 0952865
    Nosepan assembly classic 0952865
  • 0952865 CLASSIC Controls classic 0952865
    Controls classic 0952865
  • 0952865 CLASSIC Cooling system classic 0952865
    Cooling system classic 0952865
  • 0952865 CLASSIC Oil pump assembly classic 0952865
    Oil pump assembly classic 0952865
  • 0952865 CLASSIC Crankcase assembly classic 0952865
    Crankcase assembly classic 0952865
  • 0952865 CLASSIC Oil tank  /  air box assembly classic 0952865
    Oil tank / air box assembly classic 0952865
  • 0952865 CLASSIC Cylinder assembly classic 0952865
    Cylinder assembly classic 0952865
  • 0952865 CLASSIC Piston and crankshaft classic 0952865
    Piston and crankshaft classic 0952865
  • 0952865 CLASSIC Drive clutch classic 0952865
    Drive clutch classic 0952865
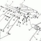
  • 0952865 CLASSIC Rear torque arm assembly classic 0952865
    Rear torque arm assembly classic 0952865
  • 0952865 CLASSIC Drive train assembly classic 0952865
    Drive train assembly classic 0952865
  • 0952865 CLASSIC Recoil starter assembly classic 0952865
    Recoil starter assembly classic 0952865
  • 0952865 CLASSIC Driven clutch classic 0952865
    Driven clutch classic 0952865
  • 0952865 CLASSIC Seat and gas tank assembly classic 0952865
    Seat and gas tank assembly classic 0952865
  • 0952865 CLASSIC Engine mounting classic 0952865
    Engine mounting classic 0952865
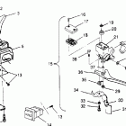
  • 0952865 CLASSIC Starting motor classic 0952865
    Starting motor classic 0952865
  • 0952865 CLASSIC Exhaust system classic 0952865
    Exhaust system classic 0952865
  • 0952865 CLASSIC Управление
    Управление
  • 0952865 CLASSIC Front suspension and ski classic 0952865
    Front suspension and ski classic 0952865
  • 0952865 CLASSIC Steering assembly classic 0952865
    Steering assembly classic 0952865
  • 0952865 CLASSIC Front torque arm assembly classic 0952865
    Front torque arm assembly classic 0952865
  • 0952865 CLASSIC Suspension assembly classic 0952865
    Suspension assembly classic 0952865
  • 0952865 CLASSIC Fuel pump classic 0952865
    Fuel pump classic 0952865
  • 0952865 CLASSIC Tool kit classic 0952865
    Tool kit classic 0952865
  • 0952865 CLASSIC Капот
    Капот
  • 0952865 CLASSIC Tunnel assembly classic 0952865
    Tunnel assembly classic 0952865
  • 0952865 CLASSIC Hood assembly classic 0952865
    Hood assembly classic 0952865
  • 0952865 CLASSIC Water pump classic 0952865
    Water pump classic 0952865


  Информация
  • Новости
  • О Компании
  • Оплата и Доставка
  • Помощь
  • Обратная связь
  • Контакты
  OEM запчасти
  • Запчасти для мотоциклов
  • Запчасти для квадроциклов
  • Запчасти для снегоходов
  • Запчасти для мотовездеходов
  • Запчасти для гидроциклов
  • Запчасти для лодочных моторов
  Наши контакты
  • ИП Зуев Артем Павлович
  • г. Москва 2-я Хуторская улица, д.29, офис 214
  • Email: info@partsfor.ru

Тел: ‎8(495) 532-03-60
8(909) 958-46-33; 8(925) 200-16-98

* все разговоры записываются
С 10.00 до 19.00 ПН - ПТ

© 2026 Интернет магазин запчастей для мототехники ПартсФор.

  • PaymentGateway
  • PaymentGateway
Договор-оферта
Образец договора для юр.лиц
Пользовательское соглашение
Политика конфиденциальности

Товар добавлен в корзину

Выбранный товар добавлен в Вашу корзину.
Далее Вы можете перейти в корзину для оформления заказа или закрыть это окно и продолжить покупки.

Перейти в корзину

Выбор модели техники

Выбрать