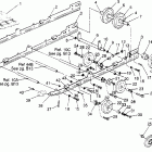
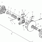
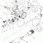
0950582 STORM SKS (1995)

Оригинальные запчасти для снегоходов Polaris

Выбор узла

0950582 STORM SKS (1995)