• О Компании
  • Оплата и Доставка
  • Помощь
  • Обратная связь
  • Контакты
  • Telegram
  • ВКонтакте
  • Telegram
  • ВКонтакте
  • Регистрация
  • Авторизация
Интернет магазин мотозапчастей PartsFor.ru
Москва и регионы России
  • Личный кабинет
    • Заказы
    • Оплаты
    • Отгрузки
    • Сообщения
    • Профиль
    • Выход
  • Оригинальные запчасти
    • Для мотоциклов
    • Yamaha
    • Honda
    • Suzuki
    • Kawasaki
    • Harley Davidson
    • Ducati
    • Can-Am
    • Aprilia
    • BMW
    • Triumph
    • Husaberg
    • Husqvarna
    • KTM
    • Indian
    • Victory
    • Slingshot
    • Для мотоциклов
    • Для квадроциклов
    • Для снегоходов
    • Для мотовездеходов
    • Для гидроциклов
    • Для лодочных моторов
    • Для катеров
    • Для судовых двигателей
    • Для генераторов
    • Для квадроциклов
    • Yamaha
    • Honda
    • Suzuki
    • Kawasaki
    • Arctic Cat
    • Can-Am
    • Polaris
    • KTM
    • Для снегоходов
    • Yamaha
    • Arctic Cat
    • Lynx
    • Ski-Doo
    • Polaris
    • Для генераторов
    • Для мотовездеходов
    • Yamaha
    • Honda
    • Suzuki
    • Kawasaki
    • Arctic Cat
    • Can-Am
    • Polaris
    • Polaris RZR
    • Для гидроциклов
    • Yamaha
    • Honda Marine
    • Kawasaki
    • Arctic Cat
    • Polaris
    • Sea-Doo
    • Для лодочных моторов
    • Для катеров
    • Для суд. двигателей
    • Для генераторов
    • Для лодочных моторов
    • Yamaha
    • Honda Marine
    • Suzuki Marine
    • Evinrude
    • Johnson
    • Nissan
    • Tohatsu
    • Mercury
    • Force
    • Mariner
    • Для катеров
    • Yamaha
    • Sea-Doo
    • Для суд. двигателей
    • Для спецтехники
  • Неоригинал, расходники
  • Заказ по каталогам
    • КАТАЛОГ PARTS UNLIMITED
  • Моторезина
  1. Главная
  2. Запчасти для снегоходов
  3. Polaris
  4. 1994
  5. E943133 EURO LITE GT

E943133 EURO LITE GT (1994)

Оригинальные запчасти для снегоходов Polaris

Выбор узла

E943133 EURO LITE GT (1994)
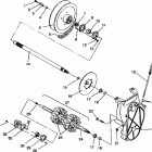
  • E943133 EURO LITE GT Blower housing & recoil assembly lite gt e943133
    Blower housing & recoil assembly lite gt e943133
  • E943133 EURO LITE GT Fuel pump lite gt e943133
    Fuel pump lite gt e943133
  • E943133 EURO LITE GT Brake assembly lite gt e943133
    Brake assembly lite gt e943133
  • E943133 EURO LITE GT Капот
    Капот
  • E943133 EURO LITE GT Carburetor assembly lite gt e943133
    Carburetor assembly lite gt e943133
  • E943133 EURO LITE GT Капот
    Капот
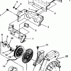
  • E943133 EURO LITE GT Chaincase assembly lite gt e943133
    Chaincase assembly lite gt e943133
  • E943133 EURO LITE GT Hood assembly lite gt e943133
    Hood assembly lite gt e943133
  • E943133 EURO LITE GT Crankcase assembly lite gt e943133
    Crankcase assembly lite gt e943133
  • E943133 EURO LITE GT Magneto assembly lite gt e943133
    Magneto assembly lite gt e943133
  • E943133 EURO LITE GT Cylinder assembly lite gt e943133
    Cylinder assembly lite gt e943133
  • E943133 EURO LITE GT Nosepan and console assembly lite gt e943133
    Nosepan and console assembly lite gt e943133
  • E943133 EURO LITE GT Drive clutch assembly lite gt e943133
    Drive clutch assembly lite gt e943133
  • E943133 EURO LITE GT Oil pump assembly lite gt e943133
    Oil pump assembly lite gt e943133
  • E943133 EURO LITE GT Drive train assembly lite gt e943133
    Drive train assembly lite gt e943133
  • E943133 EURO LITE GT Oil tank  /  air box assembly lite gt e943133
    Oil tank / air box assembly lite gt e943133
  • E943133 EURO LITE GT Driven clutch assembly lite gt e943133
    Driven clutch assembly lite gt e943133
  • E943133 EURO LITE GT Piston and crankshaft lite gt e943133
    Piston and crankshaft lite gt e943133
  • E943133 EURO LITE GT Engine mounting lite gt 0943133
    Engine mounting lite gt 0943133
  • E943133 EURO LITE GT Rack and tunnel extension lite gt 0943133 and starlite g...
    Rack and tunnel extension lite gt 0943133 and starlite g...
  • E943133 EURO LITE GT Exhaust system lite gt e943133
    Exhaust system lite gt e943133
  • E943133 EURO LITE GT Rear torque arm assembly lite gt e943133
    Rear torque arm assembly lite gt e943133
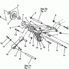
  • E943133 EURO LITE GT Front suspension and ski lite gt e943133
    Front suspension and ski lite gt e943133
  • E943133 EURO LITE GT Steering assembly lite gt e943133
    Steering assembly lite gt e943133
  • E943133 EURO LITE GT Front torque arm assembly lite gt e943133
    Front torque arm assembly lite gt e943133
  • E943133 EURO LITE GT Suspension assembly lite gt e943133
    Suspension assembly lite gt e943133
  • E943133 EURO LITE GT Tunnel and seat assembly lite gt e943133
    Tunnel and seat assembly lite gt e943133


  Информация
  • Новости
  • О Компании
  • Оплата и Доставка
  • Помощь
  • Обратная связь
  • Контакты
  OEM запчасти
  • Запчасти для мотоциклов
  • Запчасти для квадроциклов
  • Запчасти для снегоходов
  • Запчасти для мотовездеходов
  • Запчасти для гидроциклов
  • Запчасти для лодочных моторов
  Наши контакты
  • ИП Зуев Артем Павлович
  • г. Москва 2-я Хуторская улица, д.29, офис 214
  • Email: info@partsfor.ru

Тел: ‎8(495) 532-03-60
8(909) 958-46-33; 8(925) 200-16-98

* все разговоры записываются
С 10.00 до 19.00 ПН - ПТ

© 2026 Интернет магазин запчастей для мототехники ПартсФор.

  • PaymentGateway
  • PaymentGateway
Договор-оферта
Образец договора для юр.лиц
Пользовательское соглашение
Политика конфиденциальности

Товар добавлен в корзину

Выбранный товар добавлен в Вашу корзину.
Далее Вы можете перейти в корзину для оформления заказа или закрыть это окно и продолжить покупки.

Перейти в корзину

Выбор модели техники

Выбрать