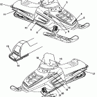
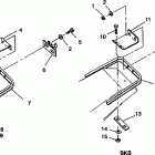
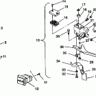
E942560 EURU 440 SKS (1994)

Оригинальные запчасти для снегоходов Polaris

Выбор узла

E942560 EURU 440 SKS (1994)