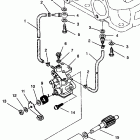
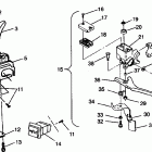
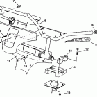
0942774 500 EFI (1994)

Оригинальные запчасти для снегоходов Polaris

Выбор узла

0942774 500 EFI (1994)