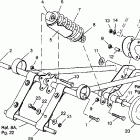
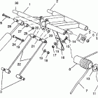
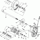
0940768 RXL (1994)

Оригинальные запчасти для снегоходов Polaris

Выбор узла

0940768 RXL (1994)