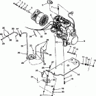
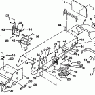
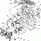
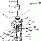
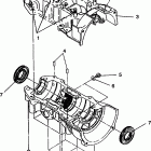
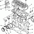
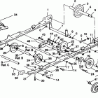
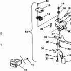
E930864 EURO CLASSIC (1993)

Оригинальные запчасти для снегоходов Polaris

Выбор узла

E930864 EURO CLASSIC (1993)