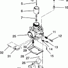
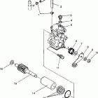
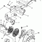
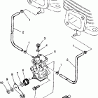
0933433 LITE (1993)

Оригинальные запчасти для снегоходов Polaris

Выбор узла

0933433 LITE (1993)