• О Компании
  • Оплата и Доставка
  • Помощь
  • Обратная связь
  • Контакты
  • Telegram
  • ВКонтакте
  • Telegram
  • ВКонтакте
  • Регистрация
  • Авторизация
Интернет магазин мотозапчастей PartsFor.ru
Москва и регионы России
  • Личный кабинет
    • Заказы
    • Оплаты
    • Отгрузки
    • Сообщения
    • Профиль
    • Выход
  • Оригинальные запчасти
    • Для мотоциклов
    • Yamaha
    • Honda
    • Suzuki
    • Kawasaki
    • Harley Davidson
    • Ducati
    • Can-Am
    • Aprilia
    • BMW
    • Triumph
    • Husaberg
    • Husqvarna
    • KTM
    • Indian
    • Victory
    • Slingshot
    • Для мотоциклов
    • Для квадроциклов
    • Для снегоходов
    • Для мотовездеходов
    • Для гидроциклов
    • Для лодочных моторов
    • Для катеров
    • Для судовых двигателей
    • Для генераторов
    • Для квадроциклов
    • Yamaha
    • Honda
    • Suzuki
    • Kawasaki
    • Arctic Cat
    • Can-Am
    • Polaris
    • KTM
    • Для снегоходов
    • Yamaha
    • Arctic Cat
    • Lynx
    • Ski-Doo
    • Polaris
    • Для генераторов
    • Для мотовездеходов
    • Yamaha
    • Honda
    • Suzuki
    • Kawasaki
    • Arctic Cat
    • Can-Am
    • Polaris
    • Polaris RZR
    • Для гидроциклов
    • Yamaha
    • Honda Marine
    • Kawasaki
    • Arctic Cat
    • Polaris
    • Sea-Doo
    • Для лодочных моторов
    • Для катеров
    • Для суд. двигателей
    • Для генераторов
    • Для лодочных моторов
    • Yamaha
    • Honda Marine
    • Suzuki Marine
    • Evinrude
    • Johnson
    • Nissan
    • Tohatsu
    • Mercury
    • Force
    • Mariner
    • Для катеров
    • Yamaha
    • Sea-Doo
    • Для суд. двигателей
    • Для спецтехники
  • Неоригинал, расходники
  • Заказ по каталогам
    • КАТАЛОГ PARTS UNLIMITED
  • Моторезина
  1. Главная
  2. Запчасти для снегоходов
  3. Polaris
  4. 1990
  5. 0900564 500 SKS

0900564 500 SKS (1990)

Оригинальные запчасти для снегоходов Polaris

Выбор узла

0900564 500 SKS (1990)
  • 0900564 500 SKS Brake and chaincase 500 and 500 classic updated 2 / 90
    Brake and chaincase 500 and 500 classic updated 2 / 90
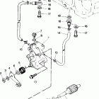
  • 0900564 500 SKS Fuel pump 500 and 500 classic
    Fuel pump 500 and 500 classic
  • 0900564 500 SKS Carburetor 500 and 500 classic
    Carburetor 500 and 500 classic
  • 0900564 500 SKS Hood 500 and 500 classic updated 2 / 90
    Hood 500 and 500 classic updated 2 / 90
  • 0900564 500 SKS Chassis and seat 500 and 500 classic updated 2 / 90
    Chassis and seat 500 and 500 classic updated 2 / 90
  • 0900564 500 SKS Magneto 500 and 500 classic
    Magneto 500 and 500 classic
  • 0900564 500 SKS Console 500 and 500 classic
    Console 500 and 500 classic
  • 0900564 500 SKS Master cylinder assembly  500 and 500 classic updated 2 ...
    Master cylinder assembly 500 and 500 classic updated 2 ...
  • 0900564 500 SKS Cooling system 500 and 500 classic updated 2 / 90
    Cooling system 500 and 500 classic updated 2 / 90
  • 0900564 500 SKS Nose pan 500 and 500 classic updated 2 / 90
    Nose pan 500 and 500 classic updated 2 / 90
  • 0900564 500 SKS Crankcase 500 and 500 classic
    Crankcase 500 and 500 classic
  • 0900564 500 SKS Oil pump 500 and 500 classic
    Oil pump 500 and 500 classic
  • 0900564 500 SKS Cylinder 500 and 500 classic
    Cylinder 500 and 500 classic
  • 0900564 500 SKS Piston and crankshaft 500 and 500 classic
    Piston and crankshaft 500 and 500 classic
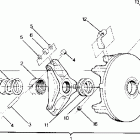
  • 0900564 500 SKS Drive clutch 500 and 500 classic updated 2 / 90
    Drive clutch 500 and 500 classic updated 2 / 90
  • 0900564 500 SKS Recoil starter 500 and 500 classic
    Recoil starter 500 and 500 classic
  • 0900564 500 SKS Driven clutch 500 and 500 classic
    Driven clutch 500 and 500 classic
  • 0900564 500 SKS Starter 500 classic
    Starter 500 classic
  • 0900564 500 SKS Electric start components 500 classic
    Electric start components 500 classic
  • 0900564 500 SKS Steering 500 and 500 classic
    Steering 500 and 500 classic
  • 0900564 500 SKS Engine mounting 500 and 500 classic updated 2 / 90
    Engine mounting 500 and 500 classic updated 2 / 90
  • 0900564 500 SKS Suspension 500 and 500 classic updated 2 / 90
    Suspension 500 and 500 classic updated 2 / 90
  • 0900564 500 SKS Front suspension and ski 500 and 500 classic updated 2 /...
    Front suspension and ski 500 and 500 classic updated 2 /...
  • 0900564 500 SKS Water pump 500 and 500 classic
    Water pump 500 and 500 classic


  Информация
  • Новости
  • О Компании
  • Оплата и Доставка
  • Помощь
  • Обратная связь
  • Контакты
  OEM запчасти
  • Запчасти для мотоциклов
  • Запчасти для квадроциклов
  • Запчасти для снегоходов
  • Запчасти для мотовездеходов
  • Запчасти для гидроциклов
  • Запчасти для лодочных моторов
  Наши контакты
  • ИП Зуев Артем Павлович
  • г. Москва 2-я Хуторская улица, д.29, офис 214
  • Email: info@partsfor.ru

Тел: ‎8(495) 532-03-60
8(909) 958-46-33; 8(925) 200-16-98

* все разговоры записываются
С 10.00 до 19.00 ПН - ПТ

© 2026 Интернет магазин запчастей для мототехники ПартсФор.

  • PaymentGateway
  • PaymentGateway
Договор-оферта
Образец договора для юр.лиц
Пользовательское соглашение
Политика конфиденциальности

Товар добавлен в корзину

Выбранный товар добавлен в Вашу корзину.
Далее Вы можете перейти в корзину для оформления заказа или закрыть это окно и продолжить покупки.

Перейти в корзину

Выбор модели техники

Выбрать