Bearcat Z1 XT (2013)

Оригинальные запчасти для снегоходов Arctic Cat

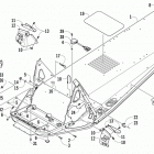
Выбор узла

Bearcat Z1 XT (2013)