Уважаемые покупатели оригинальных запчастей для техники ARCTIC CAT!
Сроки поставки запчастей марки ARCTIC CAT сейчас нормализовались и сравнимы со сроками поставки запчастей других американских марок. Однако у дилеров этой марки возможны сообщения про отказы и бэк-ордеры с большой задержкой – до месяца. Мы предупреждаем вас об этой особенности работы дилеров, приносим вам извинения за это неудобство и уверяем вас, что никак не можем повлиять на этот момент. Учитывайте пожалуйста это при заказе деталей!
Сроки поставки запчастей марки ARCTIC CAT сейчас нормализовались и сравнимы со сроками поставки запчастей других американских марок. Однако у дилеров этой марки возможны сообщения про отказы и бэк-ордеры с большой задержкой – до месяца. Мы предупреждаем вас об этой особенности работы дилеров, приносим вам извинения за это неудобство и уверяем вас, что никак не можем повлиять на этот момент. Учитывайте пожалуйста это при заказе деталей!
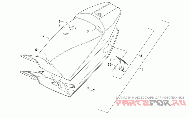
Сидение
Arctic Cat F 1100 SP LTD
| # | oem код | название | цена |
|---|---|---|---|
3 | 3606-369 Провод | Провод | |
5 | 0609-913 Деталь Pad, Seat-heater | Деталь Pad, Seat-heater | |
7 | 0624-528 Скрепка | Скрепка | |
10 | 8061-686 Деталь Rivet, Blind-lf Ss64 Zinc | Деталь Rivet, Blind-lf Ss64 Zinc | |
2 | 5706-155 Деталь Cover, Seat-orn/wht Ltd Heated (inc. 3) | Деталь Cover, Seat-orn/wht Ltd Heated (inc. 3) | |
4 | 0717-202 Деталь Foam, Seat (64-70 Ild).48r@3.6 | Деталь Foam, Seat (64-70 Ild).48r@3.6 | |
6 | 6606-461 Деталь Wire, Seat-3.048 Dia X 279.4 Mm | Деталь Wire, Seat-3.048 Dia X 279.4 Mm | |
8 | 5706-240 Деталь Base, Seat-w/seat Latch Hook (inc. 9-10) | Деталь Base, Seat-w/seat Latch Hook (inc. 9-10) | |
9 | 6606-452 Деталь Hook, Seat Latch | Деталь Hook, Seat Latch |
