CFR 1000 (2010)

Оригинальные запчасти для снегоходов Arctic Cat

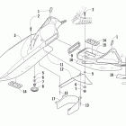
Выбор узла

CFR 1000 (2010)