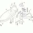
Crossfire 1000 EFI (2008)

Оригинальные запчасти для снегоходов Arctic Cat

Выбор узла

Crossfire 1000 EFI (2008)