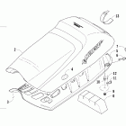
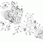
Crossfire 800 EFI (2007)

Оригинальные запчасти для снегоходов Arctic Cat

Выбор узла

Crossfire 800 EFI (2007)