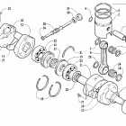
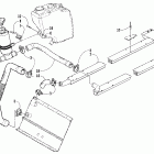
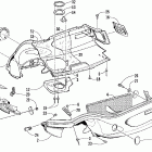
Pantera 800 (2003)

Оригинальные запчасти для снегоходов Arctic Cat

Выбор узла

Pantera 800 (2003)