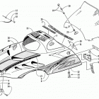
ZL 700 (2000)

Оригинальные запчасти для снегоходов Arctic Cat

Выбор узла

ZL 700 (2000)