ZL 600 EFI (2000)

Оригинальные запчасти для снегоходов Arctic Cat

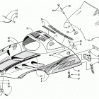
Выбор узла

ZL 600 EFI (2000)