ZL 500 EFI (2000)

Оригинальные запчасти для снегоходов Arctic Cat

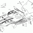
Выбор узла

ZL 500 EFI (2000)