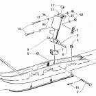
PANTHER LC (1996)

Оригинальные запчасти для снегоходов Arctic Cat

Выбор узла

PANTHER LC (1996)