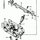
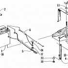
WILDCAT TOURING (1995)

Оригинальные запчасти для снегоходов Arctic Cat

Выбор узла

WILDCAT TOURING (1995)