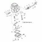
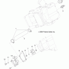
RANGER 400 4X4 - R12RH45AG/AH/AR (2012)

Оригинальные запчасти для мотовездеходов Polaris Ranger

Выбор узла

RANGER 400 4X4 - R12RH45AG/AH/AR (2012)