MULE SX (KAF400SKS) (2019)

Оригинальные запчасти для мотовездеходов Kawasaki

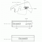
Выбор узла

MULE SX (KAF400SKS) (2019)