• О Компании
  • Оплата и Доставка
  • Помощь
  • Обратная связь
  • Контакты
  • Telegram
  • ВКонтакте
  • Telegram
  • ВКонтакте
  • Регистрация
  • Авторизация
Интернет магазин мотозапчастей PartsFor.ru
Москва и регионы России
  • Личный кабинет
    • Заказы
    • Оплаты
    • Отгрузки
    • Сообщения
    • Профиль
    • Выход
  • Оригинальные запчасти
    • Для мотоциклов
    • Yamaha
    • Honda
    • Suzuki
    • Kawasaki
    • Harley Davidson
    • Ducati
    • Can-Am
    • Aprilia
    • BMW
    • Triumph
    • Husaberg
    • Husqvarna
    • KTM
    • Indian
    • Victory
    • Slingshot
    • Для мотоциклов
    • Для квадроциклов
    • Для снегоходов
    • Для мотовездеходов
    • Для гидроциклов
    • Для лодочных моторов
    • Для катеров
    • Для судовых двигателей
    • Для генераторов
    • Для квадроциклов
    • Yamaha
    • Honda
    • Suzuki
    • Kawasaki
    • Arctic Cat
    • Can-Am
    • Polaris
    • KTM
    • Для снегоходов
    • Yamaha
    • Arctic Cat
    • Lynx
    • Ski-Doo
    • Polaris
    • Для генераторов
    • Для мотовездеходов
    • Yamaha
    • Honda
    • Suzuki
    • Kawasaki
    • Arctic Cat
    • Can-Am
    • Polaris
    • Polaris RZR
    • Для гидроциклов
    • Yamaha
    • Honda Marine
    • Kawasaki
    • Arctic Cat
    • Polaris
    • Sea-Doo
    • Для лодочных моторов
    • Для катеров
    • Для суд. двигателей
    • Для генераторов
    • Для лодочных моторов
    • Yamaha
    • Honda Marine
    • Suzuki Marine
    • Evinrude
    • Johnson
    • Nissan
    • Tohatsu
    • Mercury
    • Force
    • Mariner
    • Для катеров
    • Yamaha
    • Sea-Doo
    • Для суд. двигателей
    • Для спецтехники
  • Неоригинал, расходники
  • Заказ по каталогам
    • КАТАЛОГ PARTS UNLIMITED
  • Моторезина
  1. Главная
  2. Запчасти для мотоциклов
  3. Yamaha
  4. YZF600R
  5. YZF600RP

Запчасти для мотоциклов Yamaha YZF600RP Thundercat

Год: 2002  •  Код модели: 5AHB  •  Объем двигателя: 600

Запчасти для мотоциклов Yamaha YZF600RP Thundercat
Вид:

  • YZF600RP Система забора воздуха
    Система забора воздуха
  • YZF600RP Цепь механизма газораспределения
    Цепь механизма газораспределени я
  • YZF600RP Карбюратор
    Карбюратор
  • YZF600RP Сцепление
    Сцепление
  • YZF600RP Обтекатели
    Обтекатели
    1
  • YZF600RP Обтекатели
    Обтекатели
    2
  • YZF600RP Картер двигателя
    Картер двигателя
  • YZF600RP Боковые крышки
    Боковые крышки
    1
  • YZF600RP Коленчатый вал и Поршень
    Коленчатый вал и Поршень
  • YZF600RP Цилиндры
    Цилиндры
  • YZF600RP Головка цилиндров
    Головка цилиндров
  • YZF600RP Электрика
    Электрика
    2
  • YZF600RP Электрика
    Электрика
    1
  • YZF600RP Выхлопная система
    Выхлопная система
  • YZF600RP Крыло
    Крыло
  • YZF600RP Поворотники
    Поворотники
  • YZF600RP Рама
    Рама
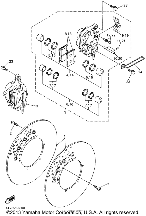
  • YZF600RP Передний суппорт
    Передний суппорт
  • YZF600RP Передняя вилка
    Передняя вилка
  • YZF600RP Главный тормозной цилиндр
    Главный тормозной цилиндр
  • YZF600RP Переднее колесо
    Переднее колесо
  • YZF600RP Топливный бак
    Топливный бак
    2
  • YZF600RP Топливный бак
    Топливный бак
  • YZF600RP Генератор
    Генератор
  • YZF600RP Рулевые переключатели
    Рулевые переключатели
  • YZF600RP Фара
    Фара
  • YZF600RP Впускная система
    Впускная система
  • YZF600RP Приборы
    Приборы
  • YZF600RP Масляный картер
    Масляный картер
  • YZF600RP Масляный насос
    Масляный насос
  • YZF600RP Радиатор и Патрубки
    Радиатор и Патрубки
  • YZF600RP Бугель
    Бугель
  • YZF600RP Задний суппорт
    Задний суппорт
  • YZF600RP Задний торм цилиндр
    Задний торм цилиндр
  • YZF600RP Задняя подвеска
    Задняя подвеска
  • YZF600RP Переднее колесо
    Переднее колесо
  • YZF600RP Сиденье
    Сиденье
  • YZF600RP Копирный вал
    Копирный вал
  • YZF600RP Вал переключения
    Вал переключения
  • YZF600RP Боковые обтекатели
    Боковые обтекатели
  • YZF600RP Подножки
    Подножки
  • YZF600RP Муфта стартера
    Муфта стартера
  • YZF600RP Стартер
    Стартер
  • YZF600RP Управление
    Управление
  • YZF600RP Троса
    Троса
  • YZF600RP Фонарь
    Фонарь
  • YZF600RP Трансмиссия
    Трансмиссия
  • YZF600RP Клапана
    Клапана
  • YZF600RP Водяной насос
    Водяной насос



  Информация
  • Новости
  • О Компании
  • Оплата и Доставка
  • Помощь
  • Обратная связь
  • Контакты
  OEM запчасти
  • Запчасти для мотоциклов
  • Запчасти для квадроциклов
  • Запчасти для снегоходов
  • Запчасти для мотовездеходов
  • Запчасти для гидроциклов
  • Запчасти для лодочных моторов
  Наши контакты
  • ИП Зуев Артем Павлович
  • г. Москва 2-я Хуторская улица, д.29, офис 214
  • Email: info@partsfor.ru

Тел: ‎8(495) 532-03-60
8(909) 958-46-33; 8(925) 200-16-98

* все разговоры записываются
С 10.00 до 19.00 ПН - ПТ

© 2026 Интернет магазин запчастей для мототехники ПартсФор.

  • PaymentGateway
  • PaymentGateway
Договор-оферта
Образец договора для юр.лиц
Пользовательское соглашение
Политика конфиденциальности

Товар добавлен в корзину

Выбранный товар добавлен в Вашу корзину.
Далее Вы можете перейти в корзину для оформления заказа или закрыть это окно и продолжить покупки.

Перейти в корзину

Выбор модели техники

Выбрать