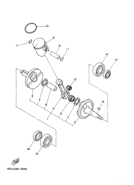
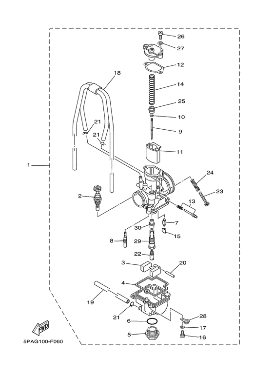
Запчасти для мотоциклов Yamaha YZ85

Год: 2007  •  Код модели: 5PAJ  •  Объем двигателя: 85

Запчасти для мотоциклов Yamaha YZ85
Вид: