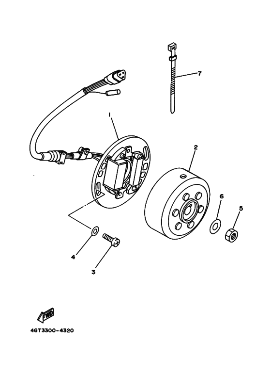
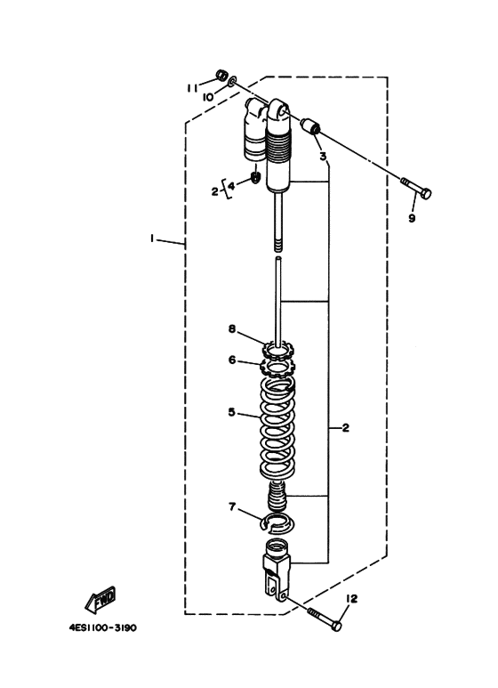
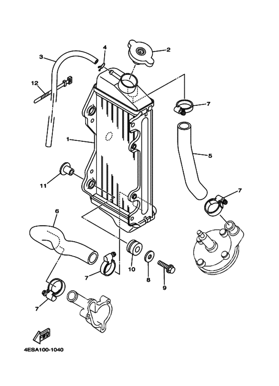
Запчасти для мотоциклов Yamaha YZ80 YZ80N

Год: 2001  •  Код модели: 4ESA  •  Объем двигателя: 80

Запчасти для мотоциклов Yamaha YZ80 YZ80N
Вид: