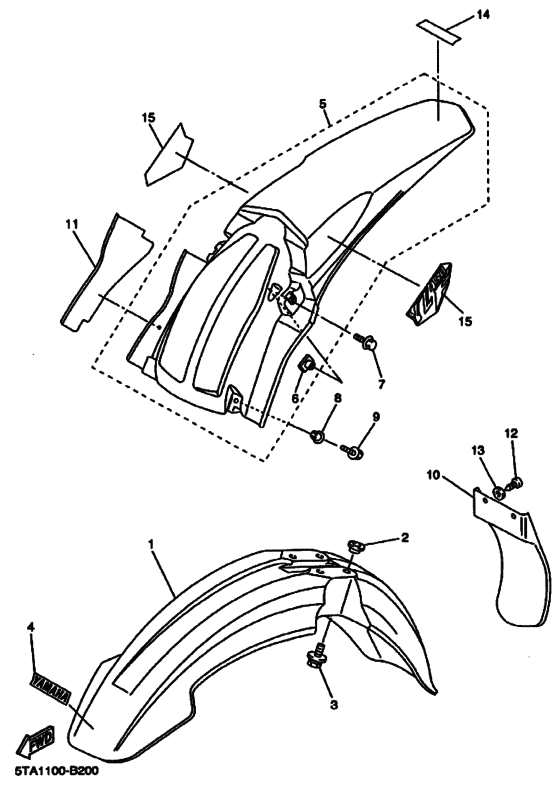
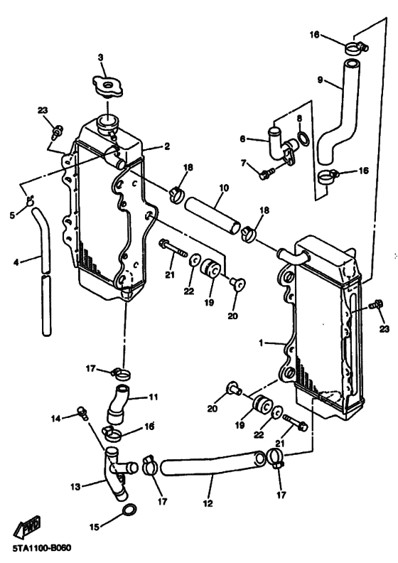
Запчасти для мотоциклов Yamaha YZ450F

Год: 2003  •  Код модели: 5TA3  •  Объем двигателя: 450

Запчасти для мотоциклов Yamaha  YZ450F
Вид: