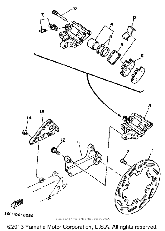
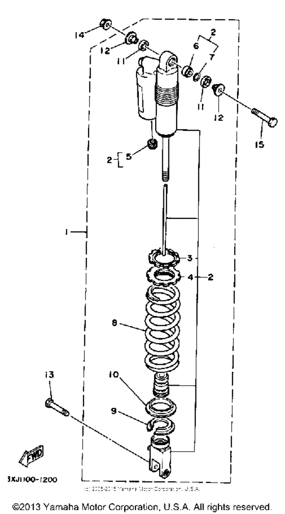
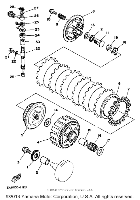
Запчасти для мотоциклов Yamaha YZ125B

Год: 1991  •  Объем двигателя: 125

Запчасти для мотоциклов Yamaha YZ125B
Вид: