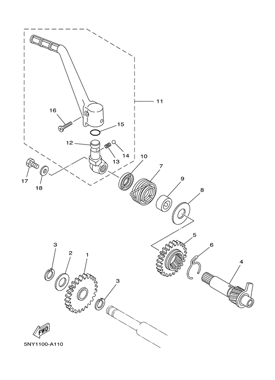
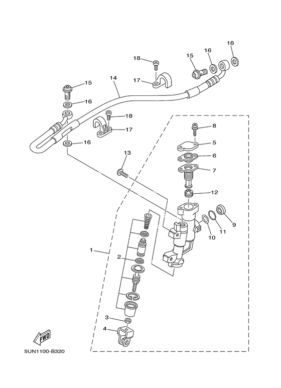
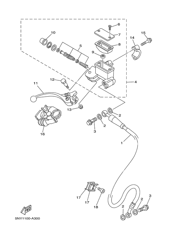
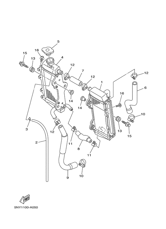
Запчасти для мотоциклов Yamaha YZ125

Год: 2003  •  Код модели: 5UN1  •  Объем двигателя: 125

Запчасти для мотоциклов Yamaha YZ125
Вид: