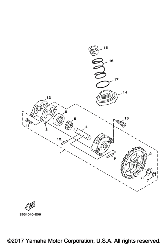
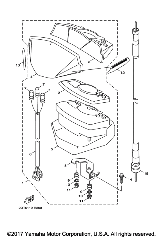
Запчасти для мотоциклов Yamaha YW50FX Zuma

Год: 2016  •  Объем двигателя: 50

Запчасти для мотоциклов Yamaha YW50FX Zuma
Вид: